Hoe ook buitenlandse ingenieurs voor Hammond in de USA gingen werken en bijdroegen aan de beroemde ontwikkelingen en orgels.

 

In dit geval gaat het over de in 2012 85-jarige Johan van Leer (zie foto).



De heer van Leer vertrok heel lang geleden uit ons kikkerlandje naar het Amerika van de onbeperkte mogelijkheden om daar zijn kennis en ideëen in dienst van Hammond te stellen.
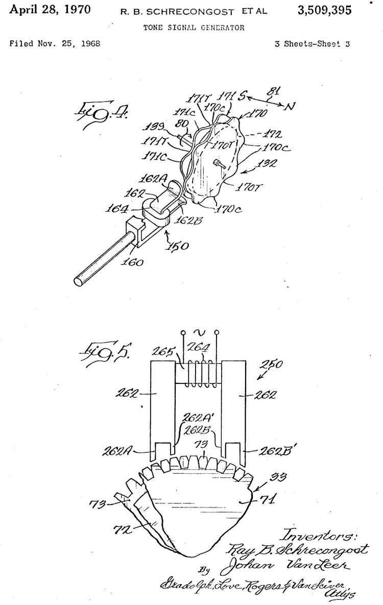
Hij heeft zelfs een patent op zijn naam staan, hetwelk beneden aan deze pagina getoond wordt.

Hieronder een gedeelte van onze briefwisseling, zodat je ziet dat er geen elektronische onwaarheden verspreid worden:

Zeer geachte heer Jan Herbert,
 
Mijn dank voor Uw mailtje en kan het volgende toevoegen. Zelf was ik niet zo zeer met het muzikale gedeelte van het Hammond Orgel bezig, maar meer met de weergave, dus laag-frequent zoals de luidsprekers, luidspreker-kasten en ook de (nu nog steeds in gebruik) nagalm veren.
 
De 1-octaaf toonwielgenerator was in wezen een wisselstroom generator: men kan dus zeggen een "alternator" en zoals U kunt zien bestond ieder toonwiel uit een "sandwich" van 2 tandwielen met een plat ronde ferite magneet ertussen.
 
Die tandwielen waren zo geplaatst dat de tand van het ene wiel net tussen de tand van het andere wiel zat en de "pick-up" was zodanig geconstrueerd dat het tijdens het roteren steeds een magnetische pool wisseling zag, een wisselstroom dus met een frequentie van een muzikale toonladder.
 
Deze generator zat in het pedaalgedeelte van de HAMMOND X-66 en ik weet niet of er in  andere volgende modellen nog gebruik van werd gemaakt. 
Niet naar mijn beste weten in de G-100.
 
Zoals U wellicht weet is de oorspronkelijke generator een ronde staafmagneet met een spoel aan het ene eind waar 1 tandwiel voor draaide en zo spanningsverschillen opwekte: geen efficiente methode.
 
De nagalm (HAMMOND TYPE 4) werd later gemaakt door GIBB ELECTRONICS in Janesville (Staat Wisconsin) daarna door OC ELECTRONICS en die verkocht het aan ACCUTRONICS die op zijn buurt werd opgekocht door BELTON (een Koreaanse firma)
Sind kort tijd word dezelfde Type 4 door "MOD" uit China gemaakt.
 
GIBBS ELECTRONIC ontwierp ook 1 octaaf generator door een hoogfrequent kristal omlaag te delen, verder nog een generator met klein stemvorkjes  -  maar al die ontwerpen konden niet tegen de toonwielen op.
 
Zelf heb ik nog gewerkt aan een Duits octrooi die met resonerende veertjes tonen opwekte - van Dipl. Ing. Adolf Michel, die begin 60-ger jaren met mij zijn orgel systeem uitwerkte. Hij kwam een tijdje naar Chicago om zijn uitvinding aan de man te brengen. Maar zoals met al die systemen moet je ze mechanisch stemmen wat arbeids intensief is.  Ik weet nog hoe die Duitse ingenieur probeerde uit te leggen hoe ze in Duitsland dat met HEIMARBEIT deden - mensen die thuis de boel in elkaar zetten en eind van de week per stuk betaald werden.
 
Moet je nét mee in Amerika aankomen !
 
Net las ik dat HAMMOND zowaar zijn octrooi(en) had gekocht en op zijn site staat ook waarom het allemaal niet doorging, o.a. door de opkomst van de IC's
 
Met vriendelijke groet,
 
JOHAN VAN LEER

 

Op deze site is een zeer uitgebreid verslag te vinden,
over het uitvindersleven van Dhr van Leer,
bij Philips in eindhoven.

En dan hieronder het beloofde patent.

 

 

 

 

 

 

 

 

 

 

 

Dan hieronder nog een aantal, helaas niet al te duidelijke frequentie-tabellen van de Dividers (delers).

 

 

 

En tot slot ook nog de bijbehorende frequentie-tabellen voor model G-100