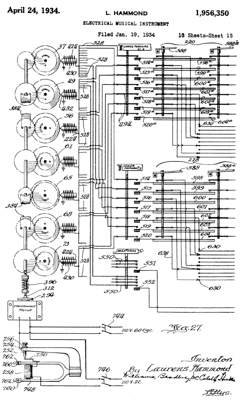
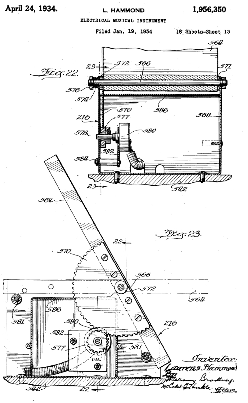
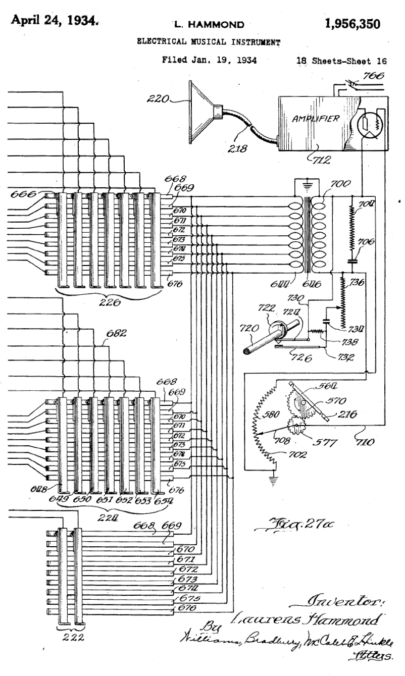
Hieronder vindt u het unieke historische document, waarmee Laurens Hammond het ontwerp, de werking en de onderdelen van zijn orgel op 19 januari 1934 inleverde bij het Amerikaanse patent bureau.
Met excuses dat sommige afbeeldingen niet conform zijn afgebeeld, maar omwille van de scherpte van het document konden we niet kantelen.
PS: let bij tekening 6 op het feit, dat het eerste orgel nog net als de eerste auto's met de hand aangezwengeld moest worden. Al snel werd echter de startmotor met het start-run systeem ontwikkeld!
Op 12 Juni 1937 werd het onderstaande patent ingeleverd;
met veel uitbreidingen en verbeteringen
Op deze website plaatsen we cookies die de website goed laten werken of anoniem het gebruik van onze website analyseren.
We plaatsen geen cookies waar u toestemming voor moet geven. Meer informatie vindt u in onze privacyverklaring of geef akkoord en sluit deze melding.