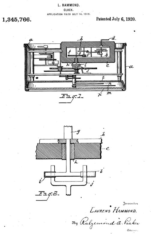
Zoals eerder reeds vermeld was de klokken-business een van de eerste "grotere" en succesvollere ondernemingen. Laurens startte met een beginkapitaal van $300,- hetgeen hij met de Bridge Table verdiend had. Zie onder, waar blijkt dat hij de motor al in 1919 patenteerde!!!
In het hieronder afgebeelde gebouw,boven een groentezaak,
werden de eerste klokken ontworpen, en gefabriceerd.
Onze Laurens aan het werk:
Een van de éérste folders:
De synchroonmotor is een elektromotor die draait met een snelheid die afhankelijk is van de netfrequentie. Aangezien de netfrequentie heel constant wordt gehouden, draait de motor dus ook héél constant. Daarom werd déze motor door Laurens Hammond gebruikt om elektrische klokken aan te drijven. De klokkenbusiness startte hij in 1928 en er zijn zeer veel modellen van de Hammondklok gemaakt.
Hier een paar filmpjes van draaiende klokken :
https://www.youtube.com/watch?v=8IA4tTa1KpI
Hier het originele aandeel:
************************************************************************
Hieronder een klein gedeelte van wat een enorm aanbod van
verschillende modellen zou gaan worden.
16 INCH WALL CLOCK
************************************************************************
HAMMOND JUNIOR
************************************************************************
MODEL AVONDALE
************************************************************************
MODEL CHRONOMASTER
************************************************************************
MODEL EMPRESS
************************************************************************
MODEL GRANVILLE
************************************************************************
MODEL GREGORY
************************************************************************
MODEL ONYX DESK
*************************************************************************
MODEL ONYX WHITEHALL
**********************************************************************
MODEL PILOT WITH ALARM
***********************************************************************
MODEL POLO
*********************************************************************
MODEL RAVENSWOOD WITH ALARM
*********************************************************************
MODEL REGENT
******************************************************************
MODEL SHERWOOD
*****************************************************************************
MODEL WHITEHALL MARBLE
********************************************************************
Verpakking en bescheiden van model "Gregory" :
HANDTEKENING LAURENS HAMMOND
Er kwamen ineens een enórm aantal klokkenfabrieken: een elektrisch klok-mechanisme was relatief goedkoop te maken en iedereen had intussen thuis elektriciteit.
Echter in 1932 stortte de markt in, waardoor er een kompléte klokken-oorlog ontstond!
Dankzij een een mega-deal met "Wrigley's Chewing Gum" om voor 89 Dollarcent (!) per stuk maar liefst 500.000 (!) weggeefklokken te fabriceren, kon Hammond weer even vooruit. De financiële middelen droogden al snel weer op, totdat vertegenwoordiger William Hetznecker een deal maakte met de POSTAL TELEGRAPH COMPANY om een grote partij wandklokken te maken, modellen die een beetje vergelijkbaar met de bij ons bekende "NS stationsklokken"
Hammond verkreeg een aanbetaling van $ 75.000,- hetgeen destijds een groot vermogen was en voldoende bleek om het bedrijf overeind te houden en over te stappen in een andere richting, namelijk de muziek business.
Hieronder de Postal Telegraph Clock van Hammond
Hier is een werkend model te zien met verlichte wijzerplaat:
https://www.youtube.com/watch?v=WcsSPgvQ9dE
De radio-fabriek ERLA maakte een deal met Laurens, welke ertoe leidde, dat in hun radio's een Hammond-Klok gemonteerd werd!
Klik HIER/NEXT om verder te gaan
Op deze website plaatsen we cookies die de website goed laten werken of anoniem het gebruik van onze website analyseren.
We plaatsen geen cookies waar u toestemming voor moet geven. Meer informatie vindt u in onze privacyverklaring of geef akkoord en sluit deze melding.