Het was ondertussen 1926 en er moest brood op de plank komen, want eerdere uitvindingen verloren langzaam hun kracht en brachten bijna geen royalties meer op.
Een uitvinding, die leidde tot een enorme energiebesparing op het gebied van gloeilampen mislukte, omdat deze reeds door de Fa. Western Electric gepatenteerd was. Daarop bedacht Hammond een nieuwe manier om suiker te raffineren, die tot een efficiëntie verhoging van maar liefst 79 procent kon leiden. Juist toen hij hiermee klaar was, zag hij dat net daarvoor iemand anders op een effectiviteit van 80 procent was gekomen.
Hij ging solliciteren bij de Western Electric Company, de vroegere firma van de harmonic-telegraph uitvinder Elisha Gray, die hem niet in dienst wilde nemen, omdat Laurens ondergekwalificeerd was.
Hammond is 33 jaar en in de bloei van z'n leven. Via zijn zwager Walter Strong, de zoon van zijn oom en chirurg Al Strong, komt Laurens in kontakt met ene E.F.Andrews, net als Laurens een universele uitvinder. Andrews was toen al een man,met een grote staat van dienst, als het gaat om een groot aantal zeer diverse uitvindingen.
Deze man vond later in 1943 o.a. een heuse gyrocopter uit.
In 1930 vond hij een apparaat uit, waarin een radio-ontvanger, versterker en speakers in waren ondergebracht tot een handzaam apparaat, hetwelk je mee kon nemen naar elke kamer van je huis. En dat al in 1930.
Andrews had dus reeds een behoorlijke radio productie opgebouwd onder de naam "Andrews Radio Company". Dit bedrijf had reeds een niet te onderschatten bijdrage geleverd in de ontwikkeling van de "radio-receiver" waarvan hieronder enkele modellen:
Laurens Hammond's zwager Walter Strong was daar toendertijd grootaandeelhouder. Doordat Andrews helaas op een onterechte manier in de rode cijfers was geraakt en er aardig wat geld van Walter Strong in zat, bracht hij deze de twee geniale uitvinders met elkaar in kontakt om te kijken of het met die twee wat zou kunnen worden. Laurens zag Andrews meteen zitten, omdat beiden vele raakvlakken hadden in de elektronica.
Hammond vroeg Andrews om met hem samen een nieuw bedrijf op te starten en haalde zwager Walter Strong en zijn zakenpartners over om in dit nieuwe bedrijf te investeren.
Andrews liet zijn radio-bedrijf failliet gaan en ging met Laurens in zee.
De samenwerking die ontstond verkreeg de navolgende naam: Hammond-Andrews Laboratories. Deze ging van start op de eerste verdieping van dit fraaie gebouw boven een groentenwinkel in Evanston: Andrews-Hammond Laboratory, 616 Davis Street, 2nd floor Evanston, Ill.
Dag en nacht werkten ze door en ze bedachten allerlei toepassingen en elektronische snufjes tot ze in 1926 op een lumineus idee kwamen. Tot dan toe speelden alle huis-radio's gek genoeg uitsluitend op oplaadbare accu's, die je steeds weer bij bijv. drogisterijen kon laten opladen.
Hierboven: Laurens in zijn eerste lab in Evanston.
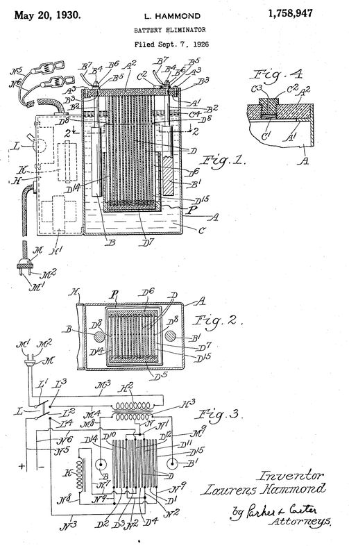
Hammond en Andrews vonden daar een apparaat uit (een soort omvormer), zodat de radio's niet alleen meer op batterijen, maar nu ook op het stopkontakt konden werken. Rond 1925 konden mensen die geen netspanning in huis hadden, radiozenders ontvangen met een batterij- of gelijkstroomontvanger. Deze speelde op een gloeistroomaccu van 4 V, die oplaadbaar was en een anodebatterij van 125 Volt.
De 125 Volt anodebatterij moest regelmatig vervangen worden. Ook waren er anodeaccu's, die evenals de gloeistroomaccu elders opgeladen konden worden. Het opladen gebeurde bij radio handelaren, die netspanning hadden, de zg. "accu-oplaadstations".
De gelukkigen, die netspanning in hun huis hadden konden ook radiostations ontvangen met een gelijkstroomontvanger. Ze moesten dan gebruik maken van omvormers. De gloeistroomomvormer leverde de gloeispanning van de radiolampen, waarbij het plaatspanningsapparaat (PSA) de netspanning omvormde naar de anodespanning voor de radiolampen. Deze omvormers konden op de netspanning aangesloten worden en zetten de wisselspanning om naar de benodigde gelijkspanningen voor het radiotoestel.
Men kon natuurlijk ook een wisselstroomontvanger kopen die rechtstreeks op het net aangesloten kon worden. De eerste Philips wisselstroomontvanger met de bijnaam "Het Roggebroodje", type: 2514, bouwjaar 1928-'29 kon rechtstreeks op het net aangesloten worden.
Voor de A-box uitleg hierboven dank aan Wim Stuiver van http://www.radio-wereld.nl.
Het bleek een schot in de roos en het werd een enorm succes. Beiden verdienden aardig aan de royalties van wat zou gaan heten: De Hammond A-Box.
Je ziet hier een leuk filmpje om te laten zien, hoe het apparaat werkte
Hier zie je een vergelijkbaar apparaat van binnen
Er was een zekere firma Fansteel, die al wel zoiets maakte, maar die gebruikte Tantalum in het accuzuur. Dit was echter enorm duur, dus gingen Hammond en Edwards aan de gang om te experimenteren met aluminium, maar dit werkte helaas niet. Toen gingen ze Alkaline gebruiken en dat bleek de oplossing. Ze verkregen op die wijze exact 6 V en dit was precies wat ze nodig hadden om een complete radio op te laten draaien.
Een overwinning was, dat juist de firma Fansteel bij hen juist weer een licentie kocht om deze apparaten ook te kunnen vervaardigen en dus stroomden de royalties binnen.
Maar er was een probleempje: Hammond's A-Box werd gemaakt door de omvormer in hete teer te monteren. Wat ze zich niet realiseerden was dat Fansteel deze teer altijd zwavelvrij inkocht en daar hadden ze niet op gelet. De Fansteel A-boxes werkten probleemloos, terwijl de Hammond-Andrews's A-Boxen vervolgens de een na de ander stukging als gevolg van kortsluiting, doordat zwavel stroom geleidde.
Een slimme zet van Laurens was, dat hij direkt daarop de hoofd-ingineur van Fansteel George Stephens over liet komen om zo het probleem op te kunnen lossen. Deze Stephens bleek echter totaal niets van het probleemgebied zwavel af te weten, maar bleek daarentegen over dusdanige capaciteiten te beschikken, dat hij later een grote kracht binnen het Hammond-concern zou gaan worden.
Het hele teer verhaal van de A-box liep aardig uit de hand en Hammond zag geen andere mogelijkheid, dan alle patenten voor de A-box te verkopen aan de Edison Storage Battery Company. Al met al zag het voor Laurens even niet al te rooskleurig uit. Daar tegenover stond, dat Laurens met ingenieur George Stephens en verkoper Redmond een goed team vormde.
Het enige wat ze nodig hadden was een nieuw produkt. Ineens herinnerde Hammond zich de synchroonmotor uit zijn Teleview. Daar moest je ook een klok mee kunnen maken. Met klokken had hij de nodige ervaring, want hij had er vroeger al eens een gebouwd, die geruisloos was. Hij wist, hoe je die goedkoper kon maken en verkopen als geen ander.
Dus begonnen ze de Hammond Clock Company. Zoals we weten, was deze dusdanig succesvol, dat ze in no-time 700 personeelsleden hadden. Vele concurrenten bouwden hun klokken in licentie, dus dat bracht ook veel geld op. Echter zoals we eerder lazen, verviel opeens het patent door een eerdere Duitse uitvinding en werd daarmee waardeloos.
In 1931, vlak voor de ineenstorting van de klokkenindustrie, verdiende Hammond nog maar liefst $ 577.348,-. Een jaar later, toen maar liefst 150 klokken-fabrikanten failliet gingen, verloor ook Hammond tonnen aan dollars, niet in het minst omdat Wrigley's kauwgomfabriek ze als reclame-presentje verkocht voor 89 dollarcent. Hammond ging flink snijden in z'n personeel. Het aantal kantoorleden ging van zes naar drie, waaronder ook Stanley M. Sorensen, die moest opstappen, maar later in 1955 president directeur van Hammond zou worden.
In 1939 verhuisden Laurens, Mildred en hun dochter naar 1421 N. State St.Chicago, IL , een huis aan de "Goudkust"van Chicago, hij zou dit huis in bezit houden tot 1960:
In 1934 liet Hammond's boekhouding een verlies zien van maar liefst $ 137.176,-. Een nare droom, zeker na de glansrijke start in de klokken-business. Laurens proclameerde: "We have continued our development work on new items and plan the introduction of a new product during the coming year. This item when introduced will substantilally augment our sales volume and further improve our operating results."
Op deze website plaatsen we cookies die de website goed laten werken of anoniem het gebruik van onze website analyseren.
We plaatsen geen cookies waar u toestemming voor moet geven. Meer informatie vindt u in onze privacyverklaring of geef akkoord en sluit deze melding.