Een icoon onder de Leslie boxen.
De Leslie 122 was qua design gelijk aan zijn voorganger de 22-H, maar heeft nu twee dual-speed motoren aan boord, voor 2 snelheden. De 122 is uitsluitend bedoeld voor Hammond orgels.
Deze box heeft in tegenstelling tot zijn voorganger naast de bekende FAST speed, nu ook een SLOW (chorale) snelheid.
Fast Motor
Onderste motorset met fast en slow motor samengebouwd.
Bovenste motorset compleet.
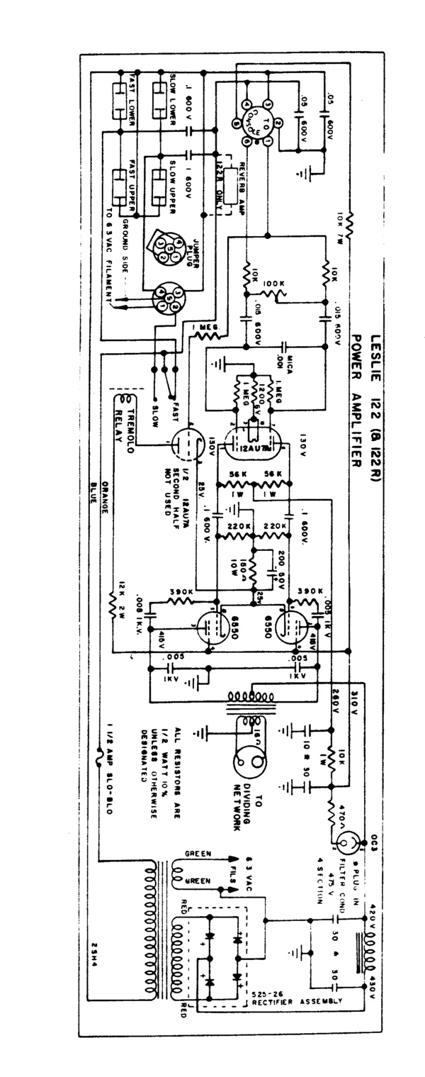
Ook de versterker in de 122 is vrijwel gelijk aan die van Model 22 H. Het enige verschil is dat er nu een DC-relais wordt toegepast om de motor op identieke wijze te kunnen schakelen als de 22 H, waardoor vanaf dat moment ook vanaf het orgel geschakeld kon worden.
Dezelfde buizen worden toegepast en ook de 122 kent weer vele verwanten en variaties,
dus eerst wat specificaties:
Height 41 inches.
Width 29 inches.
Depth 21 inches.
Has 2 rotors and 2 speakers.
Accepts 1 channel from the source.
The amp provides 40 Watts of RMS power.
A 6 pin connector:
G-G Signal
Black Audio Ground
AC Power Return
AC Power Hot
No Connection/Preamp B+
G-G Signal Red
Leslie recommends it for use with Hammond only.
Has a warm-toned vacuum tube amp.
Has a wood cabinet.
Eerdere modellen hadden een houten rotor, hier met de aandrijfsnaar. Het zwarte doek is hier van de rotor verwijderd. Latere modellen hadden een styrofoam rotor.
De 122 hieronder is in licentie door Hammond UK in Middlesex, Engeland gebouwd.
Ook bij Jorgensen werd de 122 in licentie gebouwd (de kwaliteid van het fineer verschilde wel flink van de Amerikaanse 122).
Hier dan nog even wat foldermateriaal.
Hier nog een "Hammond Echo Control Type 4H 3 Adapters
Kijk hier voor een mooie video.
Op deze website plaatsen we cookies die de website goed laten werken of anoniem het gebruik van onze website analyseren.
We plaatsen geen cookies waar u toestemming voor moet geven. Meer informatie vindt u in onze privacyverklaring of geef akkoord en sluit deze melding.